Yamaha inventa un tubo de escape que ayuda a tomar las curvas

Desde Yamaha no se cansan de inventar, y lo último que han creado ha sido un tubo de escape
Yamaha y Ramón Forcada crean la que, para muchos, es la mejor moto de raids
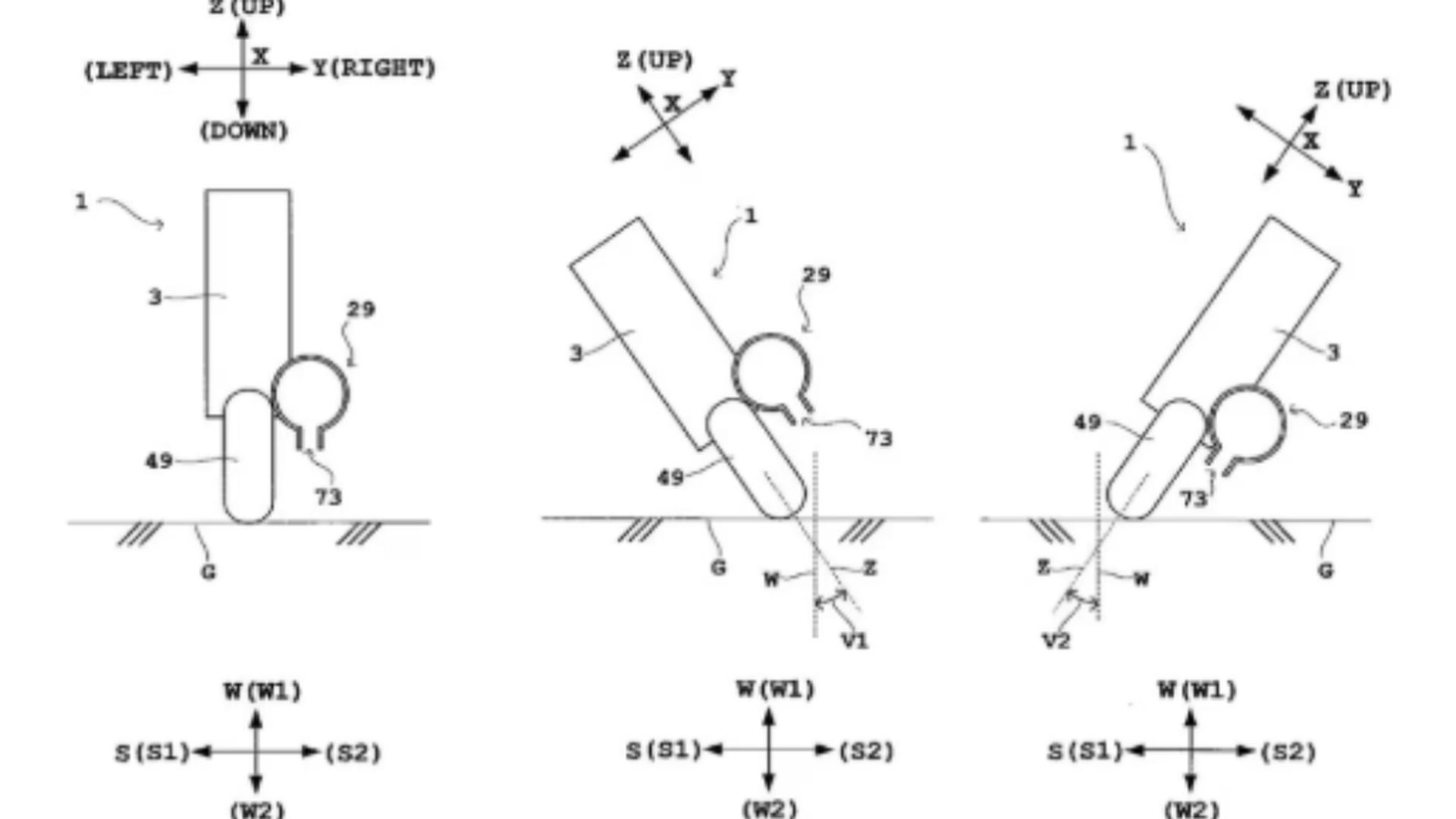
Desde Yamaha no se cansan de inventar, y lo último que han creado ha sido un tubo de escape que te ayuda a tomar las curvas, un invento totalmente novedoso y revolucionario. Según ha descrito la propia fábrica japonesa, es ideal para mejorar el rendimiento en línea recta, reducir los caballitos y mejorar las curvas, y se centra en el uso de válvulas con las que redirigir los gases a las diferentes salidas según las necesidades de conducción en cada momento.
Las imágenes del registro muestran un equipo compuesto por dos salidas, una de ellas más estrella y posicionada por encima de la principal, lo que contrarrestaría la rotación alrededor de la rueda trasera. A priori, los bocetos que han mostrado han utilizado la MT-07 como ejemplo, uno de sus modelos más vendidos, pero es probable que esta idea se oriente hacia una moto de un corte más deportivo y con mayores prestaciones, ya que sería lo más lógico.
En las fotos se muestra como lograría reducir los caballitos y mejorar la aceleración, y en la otra, como se aprovecharía el empuje del escape para mejorar el paso por curva, una virtud que siempre ha caracterizado a las Yamaha. En ambos casos, es un conjunto de válvulas de mariposa, instaladas en el interior del propio sistema, encargado de reducir los gases. Y la otra patente usa un concepto similar, aunque impulsa los gases a través de un tubo estrecho orientado directamente hacia abajo.
Una segunda versión añade dos salidas extra con la posibilidad de redirigir los gases a izquierda o derecha, lo que ayudaría a conseguir un mejor empuje en las curvas, incluso con un ángulo de inclinación menor. La idea ya está encima de la mesa, y ahora tan solo falta aplicarla, y que sea una realidad, si bien para esto todavía será necesario tener un poco más de paciencia.
